苹果新专利 带有显示屏的头戴式便携VR设备
类别:行业新闻发表于:2016-09-05 11:21
关键字:显示屏 VR
摘要:苹果公司前日刚刚通过了一项关于虚拟现实头戴设备的新专利,专利名为“带有显示屏的头戴式便携VR设备”,与三星的Gear VR比较类似,但是专为iPhone打造。
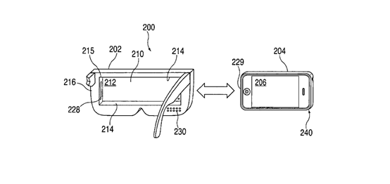
苹果公司前日刚刚通过了一项关于虚拟现实头戴设备的新专利,专利名为“带有显示屏的头戴式便携VR设备”,与三星的Gear VR比较类似,但是专为iPhone打造。

从专利图片上看,这款苹果的VR头戴设备外观设计比较普通,并且可以将iPhone放到里面使用,配备了双镜头以及遥控器装置。而这项专利也证实了苹果目前已经开始在虚拟现实领域进行相关工作的研发。
不过苹果公司专利并不一定都会转化为实际的产品,不过既然VR已经成为了业界的趋势,三星和谷歌都已经开始行动,那么苹果自然也没有理由置身事外。
来源:互联网
【免责声明】本站部分图文内容转载自互联网。您若发现有侵犯您著作权的,请及时告知,我们将在第一时间删除侵权作品,停止继续传播。





陕公网安备 61019002000416号

业务咨询