苹果正在研发环绕OLED显示屏 或用于新产品
摘要:根据外媒AppleInsider的报道,苹果目前正在研发OLED环绕显示屏,或将为iPhone的操作扩展更多的可能。根据美国专利商标局公布的一项专利来看,苹果这项专利的实现理论上需要柔性屏幕与透明的外壳两种技术组合。
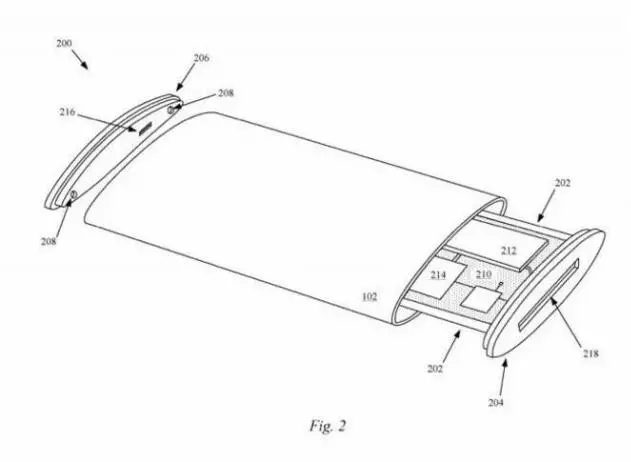
根据外媒AppleInsider的报道,苹果目前正在研发OLED环绕显示屏,或将为iPhone的操作扩展更多的可能。根据美国专利商标局公布的一项专利来看,苹果这项专利的实现理论上需要柔性屏幕与透明的外壳两种技术组合。
苹果最早是在2016年提出的这项专利,苹果表示这款显示面板能够在透明外壳的任何部分显示图像。更重要的是,除了主要显示内容的位置外,还会至少有一个边缘区域可以实现触控操作的功能。这项技术不仅可以使得手机能显示更多的内容,同时也让用户对于手机的操控性进一步加强。
苹果已经在iPhone X上取消了实体Home键的设计,虽然用户的学习成本相较之前会变高,但是其带来的优势也是显而易见的。取消Home键带来的屏幕面积扩充,使得在同样大小的机身前提下,手机屏幕能显示更多的内容,用户能够在同一时间获取更多的信息量以及相较之前更多样化的触控操作。
此外,苹果还获得了一项专利,从图中我们可以看到,该专利主要应该是对于iPad的创新。用户可以通过点击屏幕边框的部分来实现对于iPad的操作,通过点击特定的边缘部位,可以实现对于手机画面的操作,甚至可以通过点击屏幕边缘来实现开关机。
可以看到,苹果一直在为取消实体按键做着努力,未来的苹果手机可能将取消所有的实体按键部分。通过软硬件的结合,实现更多好玩好用的功能,就让我们拭目以待吧!
责编:邓蕊玲
来源:AVC产业链洞察





陕公网安备 61019002000416号

业务咨询