苹果获Micro LED显示器新专利,或用于可穿戴式产品
类别:行业新闻发表于:2018-11-12 11:32
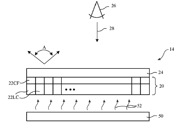
摘要:据Patently Apple官方消息显示,11月8日,美国专利与商标局公布苹果获得了一项Micro LED显示器相关专利,其涉及的视角调节层可能由全息结构形成。
据Patently Apple官方消息显示,11月8日,美国专利与商标局公布苹果获得了一项Micro LED显示器相关专利,其涉及的视角调节层可能由全息结构形成。
专利标题为“全息视角调节结构显示器”(Display with Holographic Angle-of-View Adjustment Structure),描述了由于视角调节层增强了从像素点发射出的光线的角度扩展,因此通过在Micro LED显示器像素点阵列上添加视角调节层,可以扩大用户的可视角,
来源:美国专利与商标局
据悉,今年早期,苹果收购了一家AR眼镜显示技术初创公司Akonia Holographics,该公司拥有超过200个全息系统相关专利。因此,通过此次收购,苹果能够扩大发展可穿戴式AR设备。
9月,苹果也在欧洲公布了一项关于头戴式显示器的专利应用,可支持AR、VR以及全息内容。加上获得的*新专利,苹果或将为发展采用Micro LED显示器的可穿戴式产品铺路。
来源:LEDinside
【免责声明】本站部分图文内容转载自互联网。您若发现有侵犯您著作权的,请及时告知,我们将在第一时间删除侵权作品,停止继续传播。





陕公网安备 61019002000416号

业务咨询